
淮河能源公告,公司拟将持有的淮矿电力燃料(淮南)有限责任公司(下称“淮电燃料”)100%股权以非公开协议方式转让给控股股东淮南矿业(集团)有限责任公司(下称“淮南矿业”),转让价格为2.1亿元。本次股权转让旨在进一步优化公司资产结构,聚焦主营业务发展,符合公司经营发展需要。
举报 第一财经广告合作,请点击这里此内容为第一财经原创,著作权归第一财经所有。未经第一财经书面授权,不得以任何方式加以使用,包括转载、摘编、复制或建立镜像。第一财经保留追究侵权者法律责任的权利。如需获得授权请联系第一财经版权部:banquan@yicai.com 相关阅读

历史最低!美国消费者信心大跳水,通胀预期飙升,特朗普中期选举再遇险阻
一年期通胀预期飙升至4.8%。
4686 04-11 08:26

本地生产和加注提速,上海距离绿色燃油加注中心还有多远
全球航运脱碳进入实质推进阶段,上海国际航运中心正面临一轮由航运绿色转型所引发的能级重构。
7 356 02-07 20:30

龙虎榜丨机构今日买入这18股,卖出英维克2.2亿元
龙虎榜丨机构今日买入这18股,卖出英维克2.2亿元
29 2025-12-17 18:24

主力今日尾盘买卖这些个股
主力今日尾盘买卖这些个股
2025-12-17 15:59

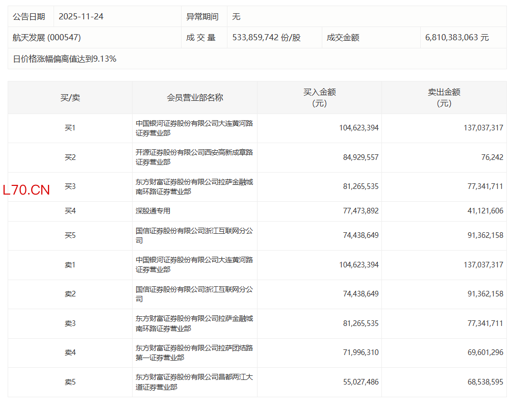
航天发展今日涨10.00% 陈小群席位买入1.05亿元卖出1.37亿元配资投资APP
航天发展今日涨10.00% 陈小群席位买入1.05亿元卖出1.37亿元
元股证券:ygzq.hk元股证券 20 2025-11-24 16:28 一财最热 点击关闭
2026 证券配资十大品牌排行榜提示:本文来自互联网,不代表本网站观点。